用户登陆
免费注册
找回密码
站内短信
论坛搜索
道具中心
统计排行
勋章中心
工控下载
购买产品
用户名
密码
输入验证码:
认真
综合讨论
资料互助
程序样例
三菱工控
西门子区
欧姆龙区
触摸屏区
工控人家园
综合讨论
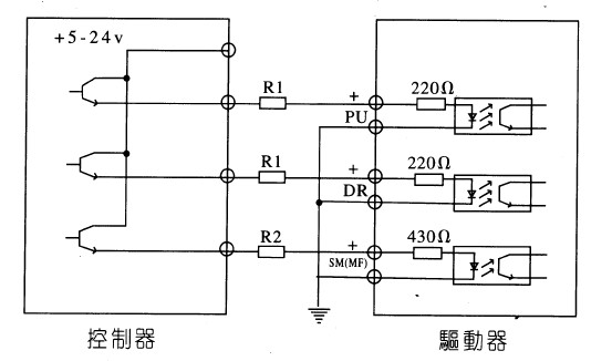
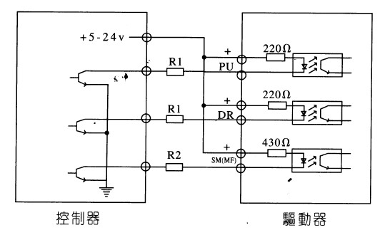
NPN/PNP两种输出类型的PLC与步进驱动器的接法
上一主题
下一主题
愚公移山
可解FPX,FPXH,FP0R,FP0H
级别: 论坛先锋
发送短信
加为好友
精华主题:
1 篇
发帖数量:
699 个
工控威望:
1040 点
下载积分:
2280 分
在线时间: 487(小时)
注册时间:
2008-01-26
最后登录:
2026-02-03
查看愚公移山的
主题
/
回贴
楼主
发表于: 2009-11-24 11:54
只看楼主
|
小
中
大
图片:
图片:
NPN/PNP两种输出类型的PLC与步进驱动器的接法
分享
mechatronics
即使很缓慢,但起码有一点一点的和目标靠近。
级别: 家园常客
发送短信
加为好友
QQ联系
精华主题:
0
发帖数量:
661 个
工控威望:
716 点
下载积分:
9777 分
在线时间: 120(小时)
注册时间:
2008-12-04
最后登录:
2025-04-17
查看mechatronics的
主题
/
回贴
1楼
发表于: 2009-11-24 12:40
只看该作者
|
小
中
大
谢谢了!拿下了.
非淡泊无以明志
非宁静无以致远
分享
taipi-k
级别: 略有小成
发送短信
加为好友
QQ联系
精华主题:
0
发帖数量:
919 个
工控威望:
460 点
下载积分:
1919 分
在线时间: 70(小时)
注册时间:
2007-09-08
最后登录:
2024-01-05
查看taipi-k的
主题
/
回贴
2楼
发表于: 2009-11-24 18:40
只看该作者
|
小
中
大
类型有误否?
┏^ǒ^*★*^ǒ^*☆*^ǒ^*★*^ǒ^*☆*^ǒ^★*^ǒ*^^★*^ǒ┓
┃╭の╮┏┯┓┏┯┓ ┏┯┓┏┯┓┏┯┓ ╭の╮┃*
┃ ╲╱ 工┠控Lǒ の人 の 家┨┠园┨ ╲╱ ┃*
┃┗戀┛┗┷┛┗┷┛ ┗┷┛ ┗┷┛┗┷┛┗戀┛┃*
┗^ǒ^*★*^ǒ^*☆*^ǒ^*★*^ǒ^*☆*^ǒ^★*^ǒ^★★*^ǒ┛
分享
jwm
级别: 论坛先锋
发送短信
加为好友
精华主题:
0
发帖数量:
532 个
工控威望:
1418 点
下载积分:
73356 分
在线时间: 432(小时)
注册时间:
2007-08-06
最后登录:
2025-09-23
查看jwm的
主题
/
回贴
3楼
发表于: 2009-11-26 06:18
只看该作者
|
小
中
大
收藏了,谢谢楼主分享。
分享
lingyijian
级别: *
发送短信
加为好友
精华主题:
* 篇
发帖数量:
* 个
工控威望:
* 点
下载积分:
* 分
在线时间: (小时)
注册时间:
*
最后登录:
*
查看lingyijian的
主题
/
回贴
4楼
发表于: 2009-11-27 11:18
只看该作者
|
小
中
大
没有看明白,好像都是NPN类型的两种接法
分享
黄猛
级别: 略有小成
发送短信
加为好友
精华主题:
0
发帖数量:
284 个
工控威望:
270 点
下载积分:
1415 分
在线时间: 72(小时)
注册时间:
2007-09-24
最后登录:
2019-12-06
查看黄猛的
主题
/
回贴
5楼
发表于: 2009-11-27 11:54
只看该作者
|
小
中
大
学习了,谢谢
分享
niuzaibuding
级别: *
发送短信
加为好友
精华主题:
* 篇
发帖数量:
* 个
工控威望:
* 点
下载积分:
* 分
在线时间: (小时)
注册时间:
*
最后登录:
*
查看niuzaibuding的
主题
/
回贴
6楼
发表于: 2009-11-27 13:39
只看该作者
|
小
中
大
晶体管的型号没有区分开来。。。。。。。。。。。。
分享
上一主题
下一主题
工控人家园
综合讨论
NPN/PNP两种输出类型的PLC与步进驱动器的接法
http://www.ymmfa.com
访问内容超出本站范围,不能确定是否安全
继续访问
取消访问